 |
FEATURES
1. High Ripple Current High Temperature, extremely Long Life, Life time 105°C 5000-8000 hours
2. Specially designed for electronic ballast and energy-save lamp
 |
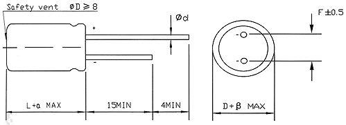
CASE SIZE TABLE
| ØD |
8 |
10 |
12 |
16 |
19 |
| F |
3,5 |
5,0 |
7,5 |
10 |
| Ød |
0,5 |
0,6 |
0,8 |
| α max. |
(L<20) 1,5 |
| (L≥20) 2,0 |
| β max. |
0,5 |
SPECIFICATIONS
| Item |
Performance Characteristics |
| Operating Temperature Range |
-40 to +105°C |
| Rated Working Voltage Range |
200 to 450V |
| Nominal Capacitance Range |
1 to 100μF |
| Capacitance Tolerance |
±20% (120Hz, +20°C) |
| Leakage Current |
| Raied voltage (V) |
200-250 |
350-450 |
| LC |
0,01CV(μA) or 3μA (2 minutes)
(Whicheveris greater) |
0,06CV+10μA (1 minutes) |
|
Dissipation Factor
tan δ (120Hz, +20°C) |
| UR (V) |
200 |
250 |
350 |
400 |
450 |
| tan δ |
0,10 |
0,10 |
0,10 |
0,10 |
0,12 |
|
| Load Life |
After application of the rated voltage plus the rated ripple current at +105°C, the capacitors shall meet
Time: 5000 hours
Capacitance change: ±30% Initial measured value
Leakage current: ≤ Initial specified value
Dissipation factor: ≤ 3 Initial specified value |
| Shelf Life |
After leaving capacitors under no toad at 105°C for 1000 hours, UR to be applied for 30 minutes, capacitors shall meet the specified value for load life Characteristics listed above. |
STANDARD RATINGS
| Voltage (Code) |
200V |
250V |
350V |
400V |
450V |
| Cap, (μF) |
Code |
2D |
2E |
2V |
2GS |
2W |
| 1 |
010 |
|
|
|
|
8x12 |
53 |
8x12 |
65 |
8x12 |
75 |
| 1,8 |
1R8 |
|
|
|
|
10x12 |
60 |
10x12 |
70 |
10x12 |
80 |
| 2,2 |
2R2 |
|
|
|
|
8x12 |
65 |
10x12 |
75 |
10x12 |
85 |
| 10x12 |
| 3,3 |
3R3 |
|
|
8x12 |
75 |
10x12 |
80 |
10x16 |
90 |
10x12 |
100 |
| 8x12 |
| 4,7 |
4R7 |
|
|
8x16 |
95 |
10x16 |
115 |
10x20 |
130 |
10x20 |
140 |
| 10x12 |
10x16 |
| 6,8 |
6R8 |
|
|
10x16 |
102 |
10x20 |
142 |
10x20 |
155 |
12x20 |
165 |
| 12x20 |
| 8,2 |
8R2 |
|
|
10x16 |
112 |
12x20 |
250 |
12x20 |
160 |
13x20 |
270 |
| 10 |
100 |
10x16 |
235 |
10x20 |
250 |
12x20 |
250 |
13x20 |
260 |
13x20 |
270 |
| 10x16 |
12x20 |
| 15 |
150 |
10x20 |
235 |
10x20 |
250 |
13x20 |
260 |
13x25 |
270 |
13x25 |
280 |
| 22 |
220 |
10x20 |
240 |
13x20 |
285 |
13x25 |
275 |
16x25 |
185 |
16x25 |
295 |
| 33 |
330 |
13x20 |
300 |
13x25 |
320 |
16x25 |
300 |
16x30 |
310 |
16x30 |
320 |
| 10x24 |
12x25 |
| 47 |
470 |
13x20 |
310 |
10x16 |
330 |
16x30 |
350 |
16x35 |
375 |
19x35 |
380 |
| 12x25 |
16x30 |
| 68 |
680 |
16x25 |
380 |
16x25 |
400 |
|
|
|
|
|
|
| 100 |
101 |
16x30 |
640 |
16x30 |
680 |
|
|
|
|
|
|
Rated ripple current (mA, +105°C, 120Hz)
Coefficient of allowable ripple current
Frequency Coefficient (Hz)
| UR (V) |
CR (μF) |
120 |
1K |
10-30K |
30-100K |
| 200-250 |
3,3-100 |
0,55 |
0,85 |
0,90 |
1,00 |
| 350-450 |
1-47 |
0,5 |
0,8 |
0,9 |
1,00 |
|